快訊
聽新聞
0:00 0:00

貓奴好狂!「CAT-8888」車牌57.6萬標出 創基隆監理站競標金額最高紀錄

生活中心/游舒婷報導

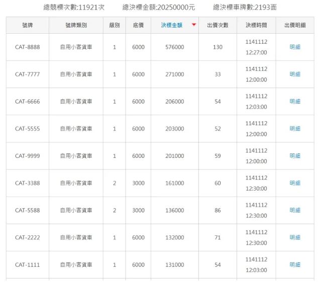
被稱為「貓奴身分證」的「CAT」系列夢幻車牌於10日開標,今(12)日決標,其中人氣最高的就是自用小客車車牌「CAT-8888」,以57萬6千元的超高價決標。

貓奴搶「CAT-8888」車牌。(圖/取自交通部)
貓奴搶「CAT-8888」車牌。(圖/取自交通部)

交通部於日前公布,「CAT」系列車牌開放競標,監理服務網統計,有高達1萬1921次投標,最終決標的車牌數共2193面,這系列的車牌名單,在貓奴間人氣爆棚,還有人開玩笑說,可以選擇貓咪的生日當後面的數字。

今日決標後,統計數字顯示,「CAT-8888」的決標金額最高,且出價次數多達130次,最後以高達57萬6千元的金額決標,同時也創下基隆監理站競標金額最高紀錄;第二高的「CAT-7777」,決標金額達27.1萬元。

根據《聯合新聞網》,基隆監理站副站長余南勇表指出,除了上述兩個車牌外,有諧音的特殊車牌也相當熱門,像「CAT-5168」(我一路發)、「CAT-0857」(恁爸有錢)各別以8萬2000元、6萬7000元決標。

交通部公路局先前曾說明,為避免車牌決標後,得標者不依規定在期限內繳納標金的惡意棄標的行為,自104年11月12日起,車牌競標金額超過30萬元(含),要先繳納6萬元保證金,才能參加競標。

若得標者未依規定於期限內完成繳費,則沒收該保證金,並禁止參與公路監理機關車牌競標及選號資格1年;未得標或得標已繳交全部得標金額者(保證金不得扣抵決標金額),自決標次日起10個工作日由招標機關無息退還保證金。
 

「CAT」系列夢幻車牌決標。(圖/取自監理服務網)
「CAT」系列夢幻車牌決標。(圖/取自監理服務網)
#車牌

【J4葛瑞絲滑上車EP.44】蕭美琴、蔡英文到高市早苗 女力發威護台灣!
大數據推薦
【⚡颱風特報 #不斷電直播⚡】
熱銷商品
頻道推薦
直播✦活動
三立新聞網三立新聞網為了提供更好的閱讀內容,我們使用相關網站技術來改善使用者體驗,也尊重用戶的隱私權,特別提出聲明。
了解最新隱私權聲明